Product Item: Craftsman 113.221740 shop
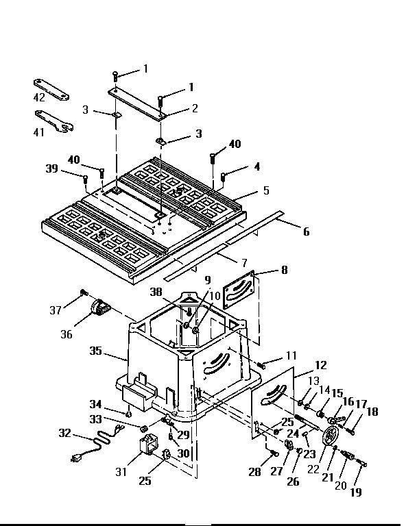
CRAFTSMAN 113.221740 OWNER S MANUAL Pdf Download ManualsLib shop, 1994 Craftsman 113.221740 10 shop, Craftsman 113.221740 Benchtop 10 Table Saw Wheel Handle Blade Elevation Crank shop, Instruction Manual for Craftsman 113.221740 Table Saw Owners shop, Sears Craftsman 113.221740 Table Saw Throat Plate Blade Insert 10.25 X 1 7 8 shop, Here is the actual saw r craftsman113 shop, Sears Craftsman 113.221740 Table Saw Throat Plate Blade Insert 10.25 X 1 7 8 shop, Sears Craftsman 10 INCH Electric Table Saw Model 113.221740 70367 shop, Here is the actual saw r craftsman113 shop, Official Craftsman 113221740 table saw parts Sears PartsDirect shop, Sears Craftsman 113.221740 Table Saw Throat Plate Blade Insert 10.25 X 1 7 8 shop, Here is the actual saw r craftsman113 shop, Instruction Manual for Craftsman 113.221740 Table Saw Owners shop, Sears Craftsman 10 shop, Craftsman Model 113.221740 Table Saw Angle Pointer And Table Lock shop, Sears Craftsman 10 shop, 10 shop, Newby looking for advice on table saw Woodworking Talk shop, Official Craftsman 113221740 table saw parts Sears PartsDirect shop, Craftsman Bench Top Table Saw model 113.221740 for Sale in Palermo CA OfferUp shop, Sears Craftsman 113.221740 Table Saw Throat Plate Blade Insert shop, Craftsman Bench Top Table Saw model 113.221740 for Sale in Palermo CA OfferUp shop, Newby looking for advice on table saw Woodworking Talk shop, Adjusting The 90 And 45 Positive Stops Blade Tilt Indicator shop, Sears Roebuck 113221740 10 Table Saw BigIron Auctions shop, Arbor Nut And Washer For 113.221740 Craftsman Benchtop 10 Motorized Table Saw shop, Craftsman 113221740 10 shop, Craftsman Bench Top Table Saw Property Room shop, Sears Roebuck 113221740 10 Table Saw BigIron Auctions shop, Newby looking for advice on table saw Woodworking Talk shop, Craftsman 113 Stubby Splitter with Complete Mounting Bracket shop, Sears Craftsman 113.221740 10 Inch Table Saw Op and Parts Manual 1505 shop, Craftsman 113221740 10 shop, SEARS CRAFTSMAN Table Saw Manual Model 113.298032 11.84 shop, Blade Guard Assembly Installing Table Side Extensions Craftsman shop.
Craftsman 113.221740 shop